
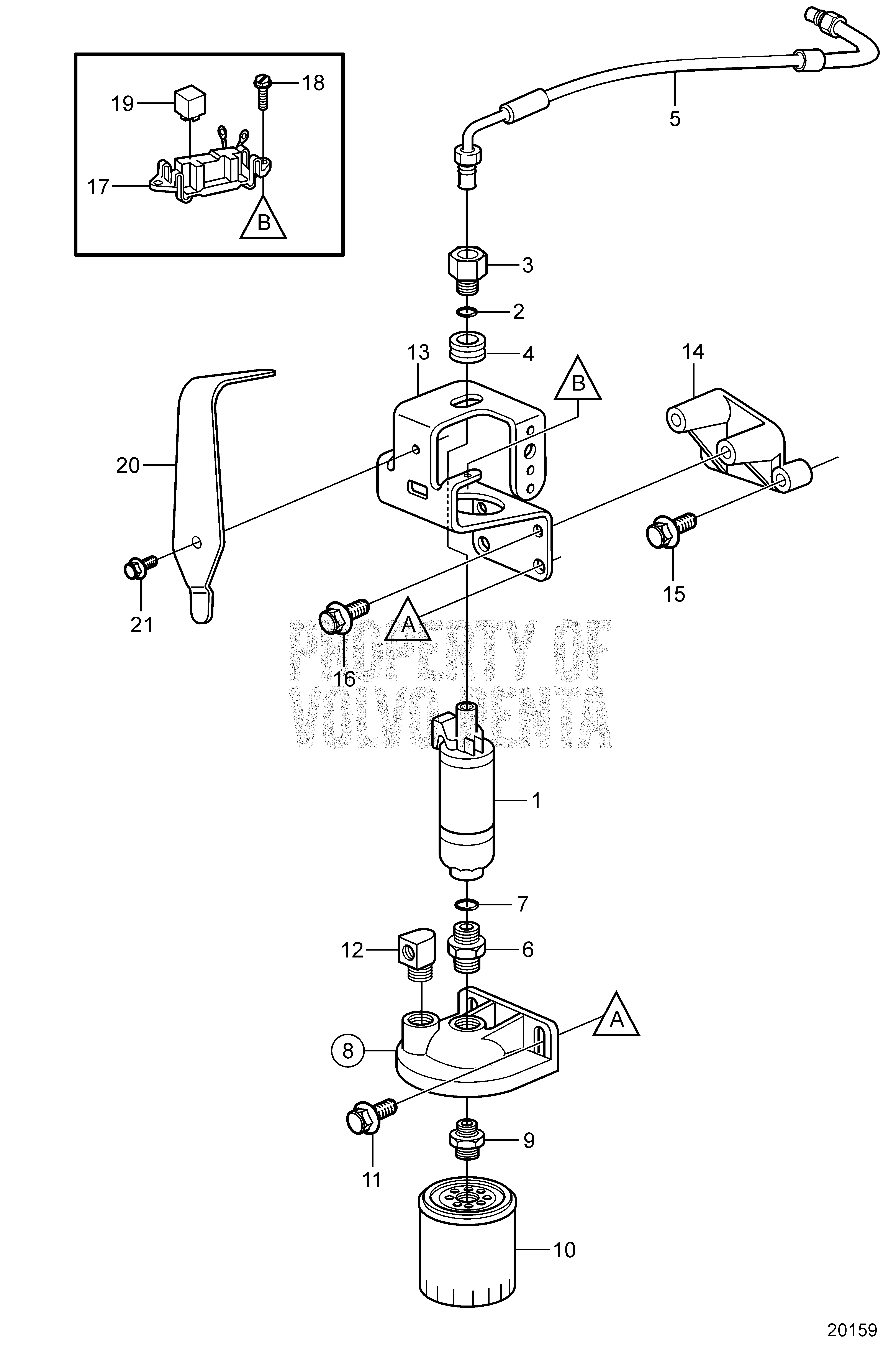
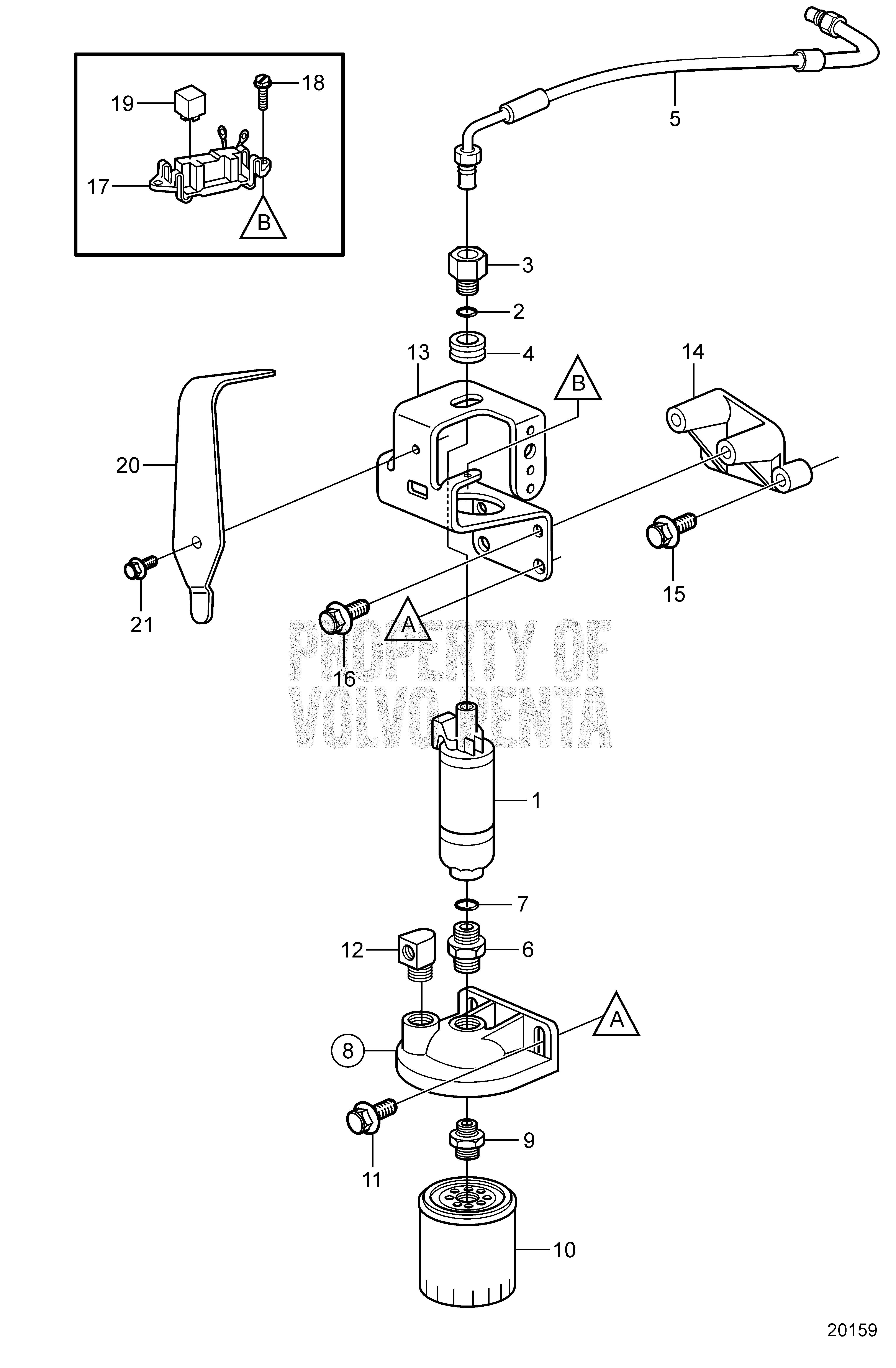
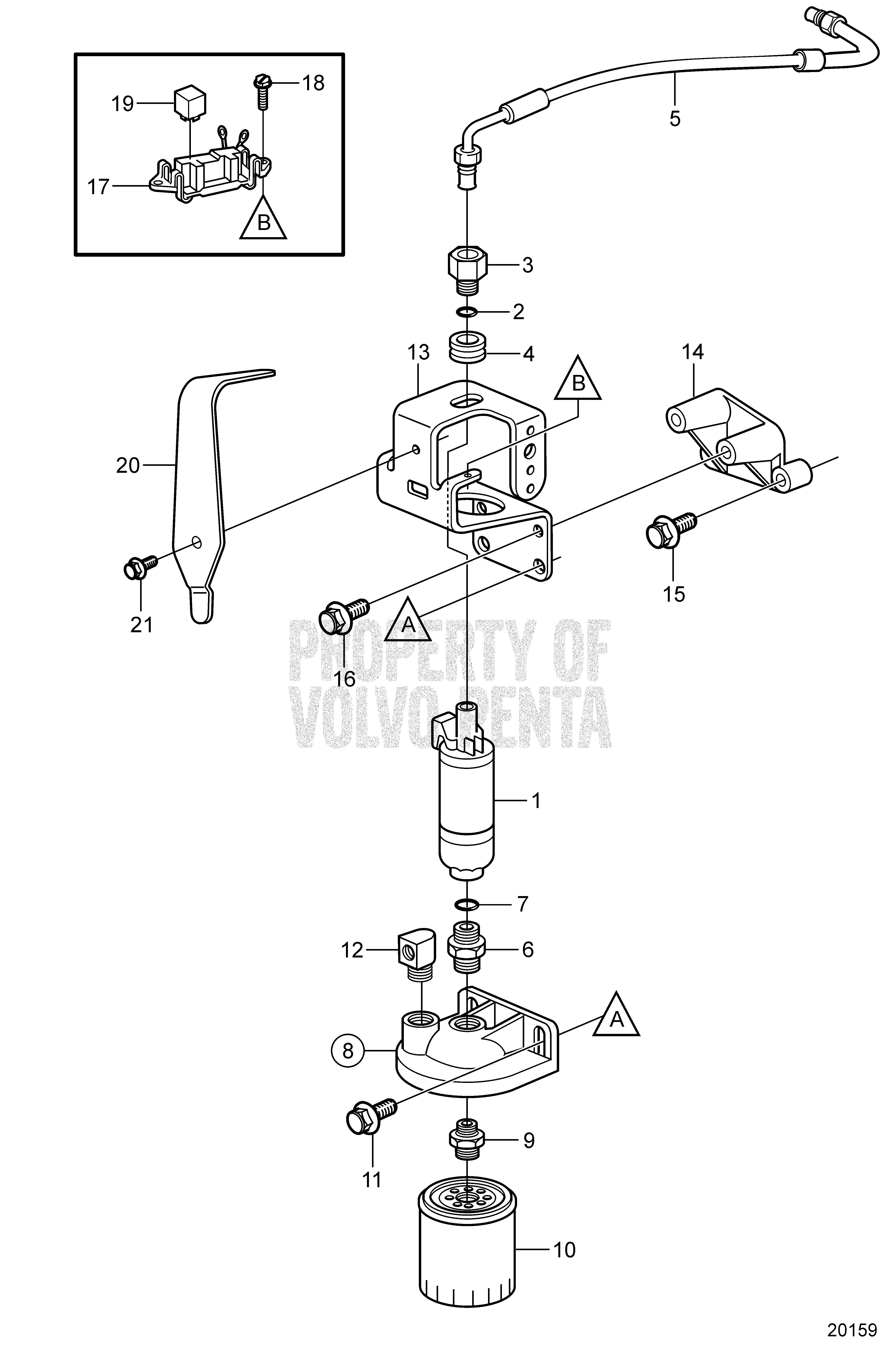
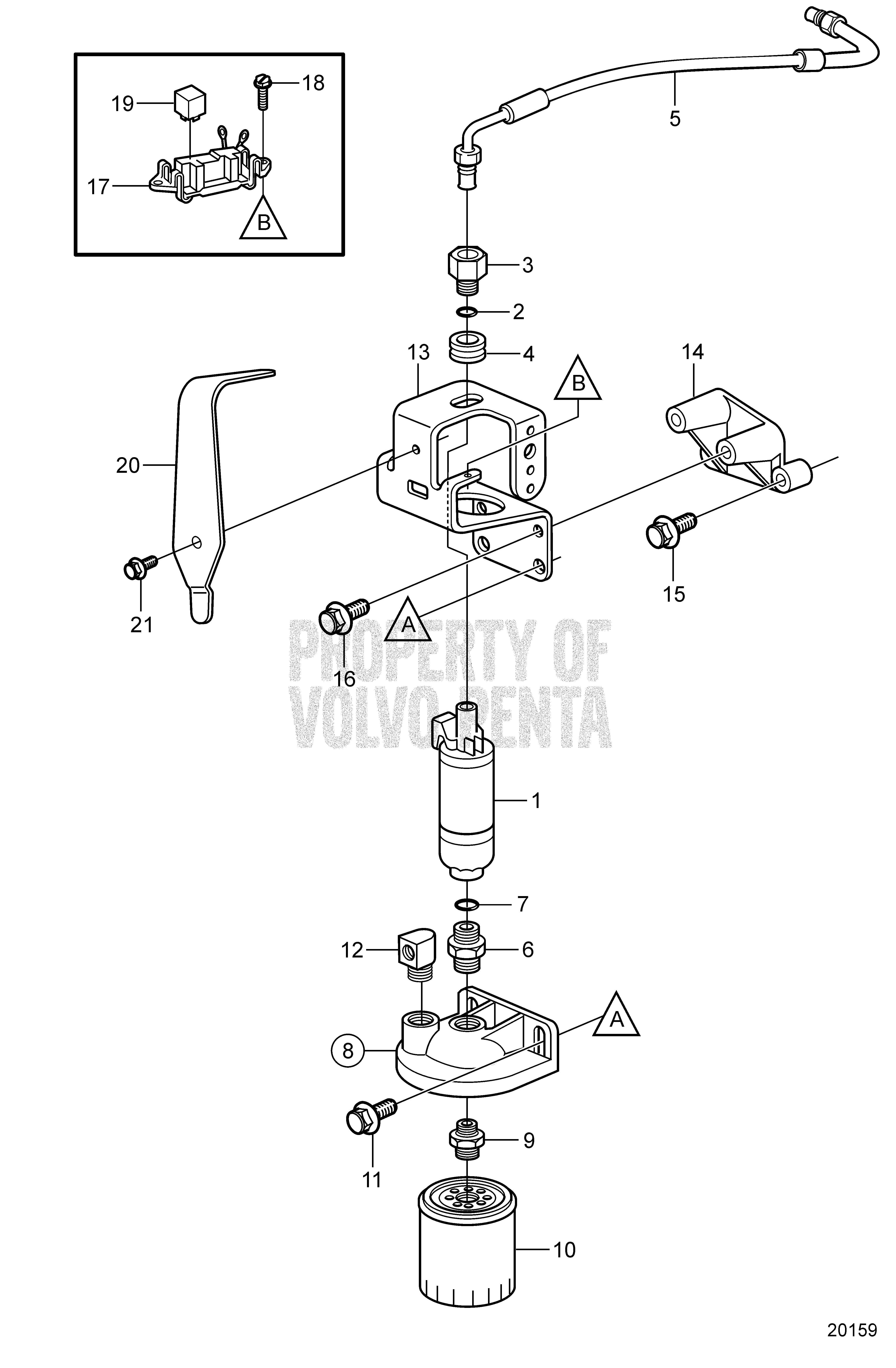
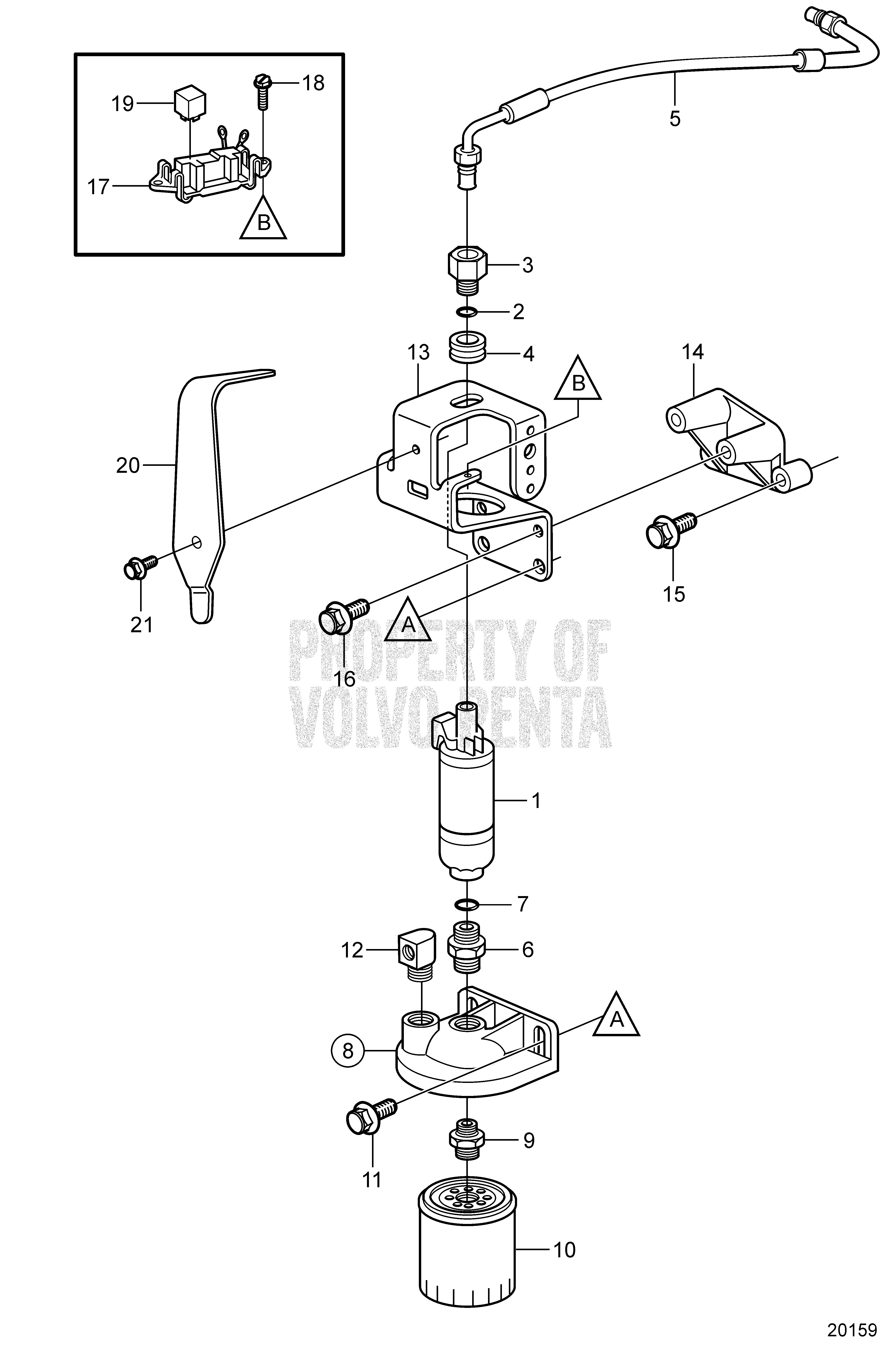
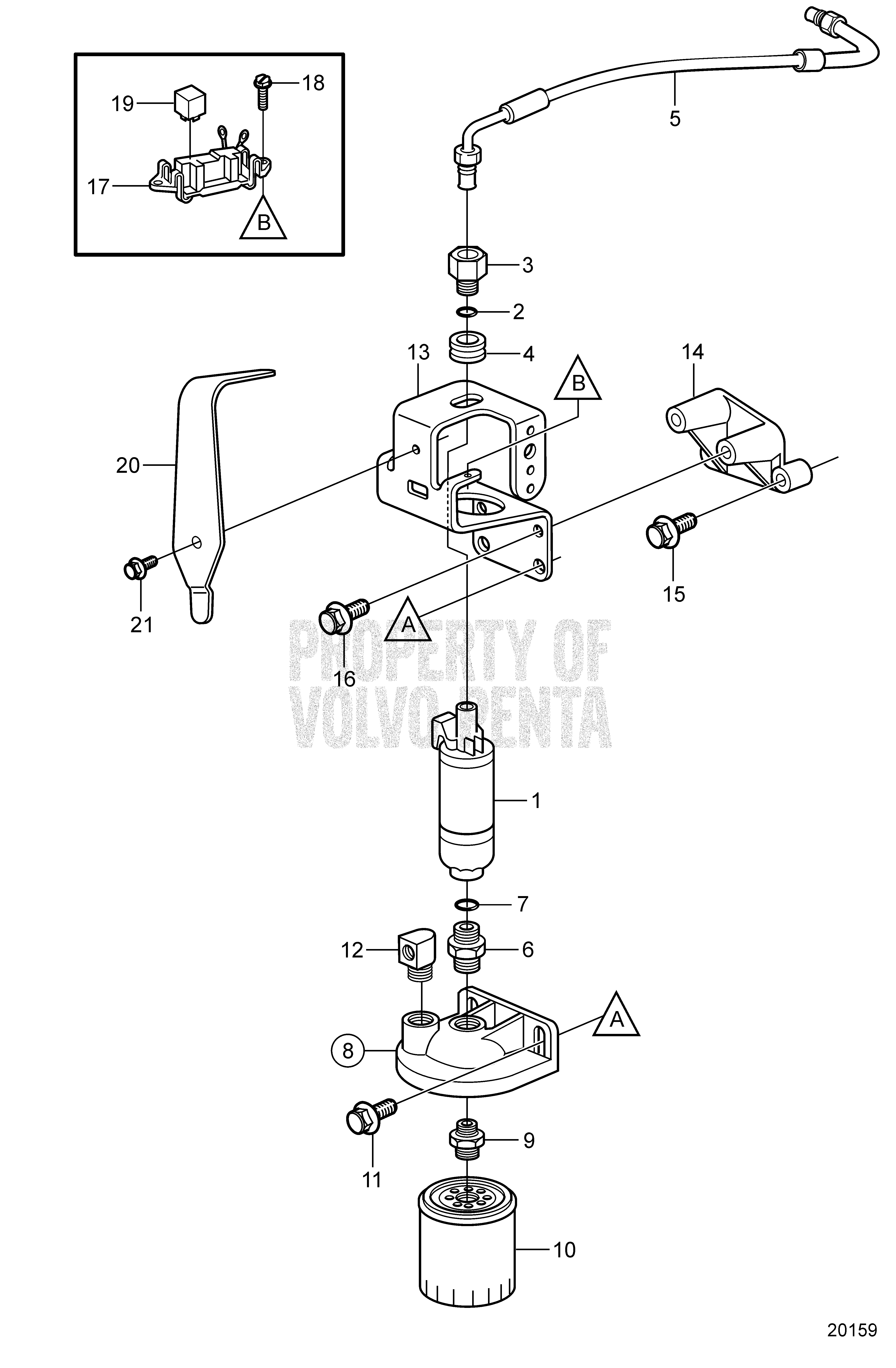
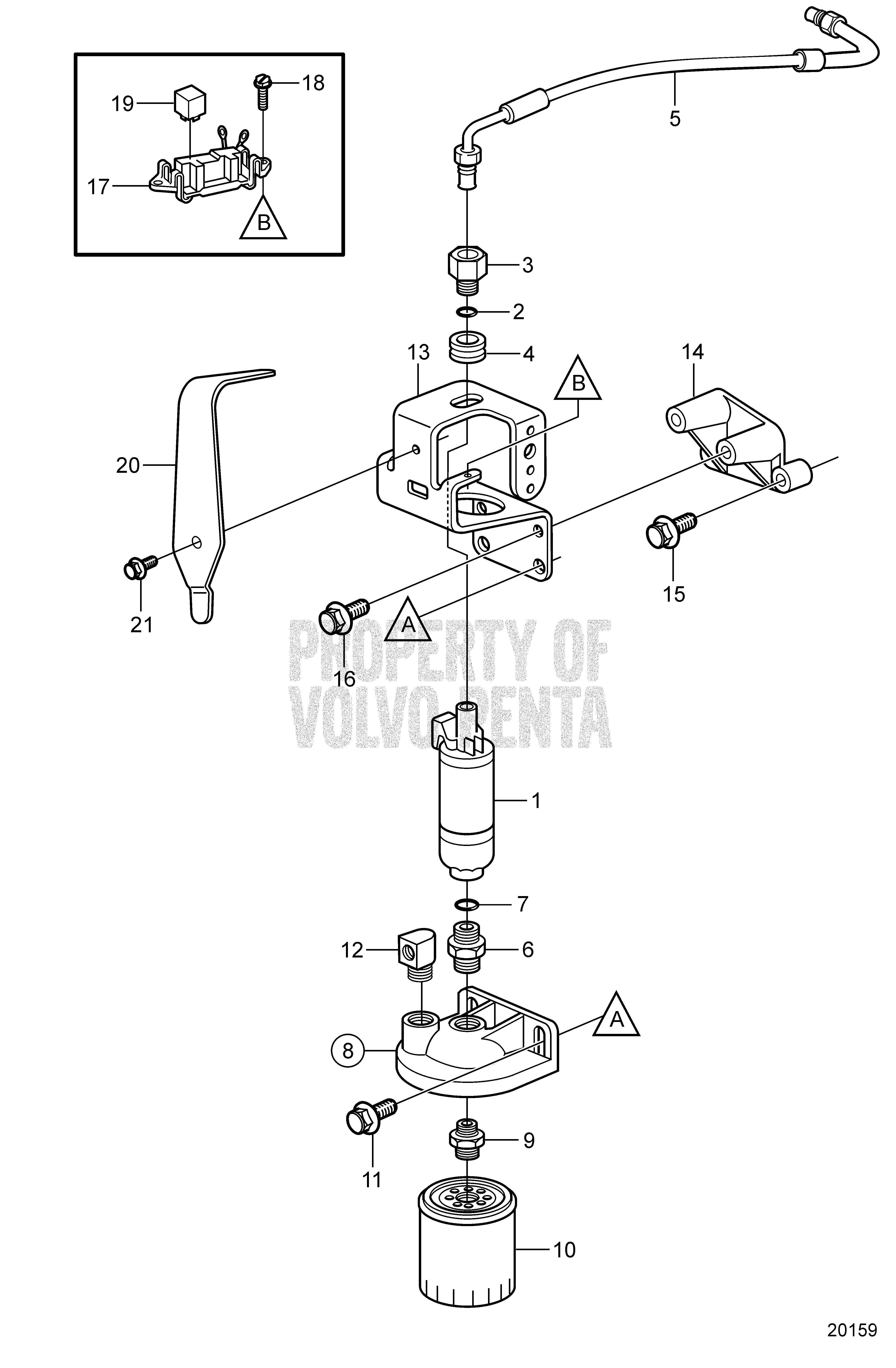
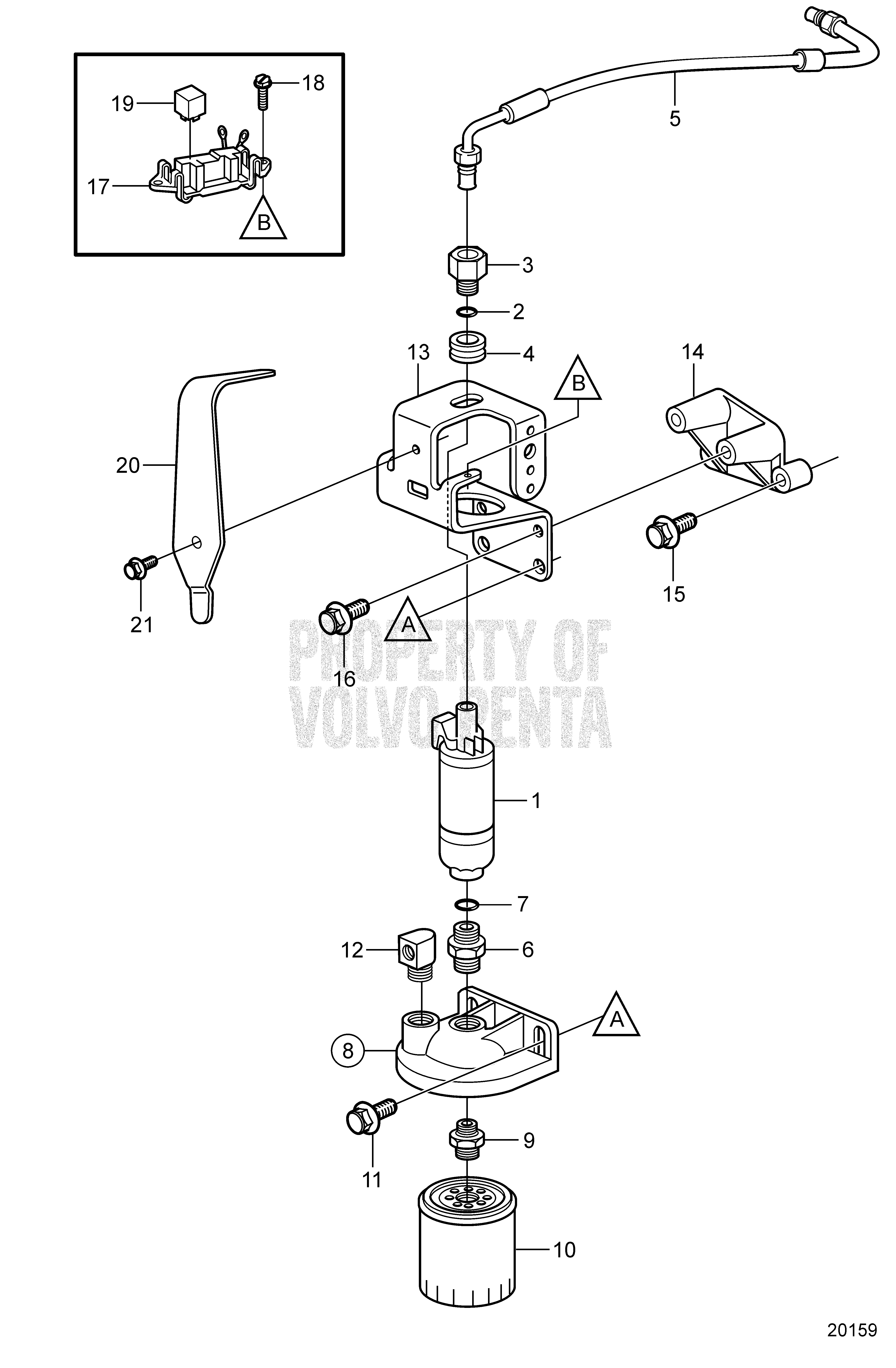
Exploded views containing this product:
Marine Gasoline Engines
Art. 3850819
Article group
Weight
Description
This part is no longer in assortment and can no longer be bought